ПИ9701 преобразователи измерительные

Скачать PDF

Тип датчика температуры: ТЖК, ТНН, ТПП, ТПР, ТСМ, ТСП, ТХА, ТХК

Номинальная статическая характеристика: 50М, 50П, 100М, 100П, B, J, K, L, N, S

Диапазон измеряемых температур: +50...+100°C, +50...+150°C, +50...+200°C, +100...+150°C, +150...+200°C, +200...+300°C, +200...+400°C, +200...+800°C, +300...+500°C, +400...+600°C, +400...+800°C, +400...+1200°C, +800...+1100°C, -25...+25°C, -50...+50°C, -100...+50°C, -200...+50°C, 0...+50°C, 0...+100°C, 0...+150°C, 0...+200°C, 0...+400°C, 0...+1000°C

Маркировка взрывозащиты: 1ExdIICT6, Нет

Цена (без учета НДС): По запросу руб.

Описание

Приборы ПИ9701 предназначены для преобразования сигналов термопреобразователей сопротивления и термоэлектрических преобразователей в унифицированный токовый выходной сигнал или в унифицированный выходной сигнал в виде напряжения.

Измерительные преобразователи ПИ9701 выпускаются в общепромышленном и взрывозащищенном исполнениях. Преобразователи во взрывозащищенном исполнении могут применяться во взрывоопасных зонах помещений и наружных установок, в которых возможно образование взрывоопасных смесей категории IIA, IIB, IIC групп T1, T2, T3, T4, T5, T6.

Технические характеристики

Тип подключаемого первичного датчика

ТХА(K), ТХК(L), ТПП(S), ТПР(B), ТЖК(J), ТНН(N),
ТСМ (50М, 100М; W100=1,4280),
ТСП (50П, 100П; W100=1,3910)

Унифицированный выходной сигнал

0-5 мА; 4-20 мА; 0-5 В

Сопротивление нагрузки Rн:

- Для унифицированного выходного сигнала 4-20 мА и 0-5 мА

500 Ом

- Для унифицированного выходного сигнала 0-5 В

2000 Ом

Время установления выходного сигнала после включения

5 с

Вид взрывозащиты

Взрывонепроницаемая оболочка

Маркировка взрывозащиты

1ЕхdIICT6

Степень защиты

IP54

Устойчивость к вибрации

Группа исполнения N4

Вид климатического исполнения

УХЛ1, У3

Температура окружающего воздуха

-40…+50°С

Питание:

- Для унифицированного выходного сигнала 4-20 мА

от +(12+20*Rн)* до +36 В

- Для унифицированного выходного сигнала 0-5 мА

от +(12+5*Rн)* до 36 В

- Для унифицированного выходного сигнала 0-5 В

от +12 до +36 В

- Номинальное значение

+24 В

Потребляемая мощность

0,9 Вт

Масса

2,2 кг

* Rн - в кОм

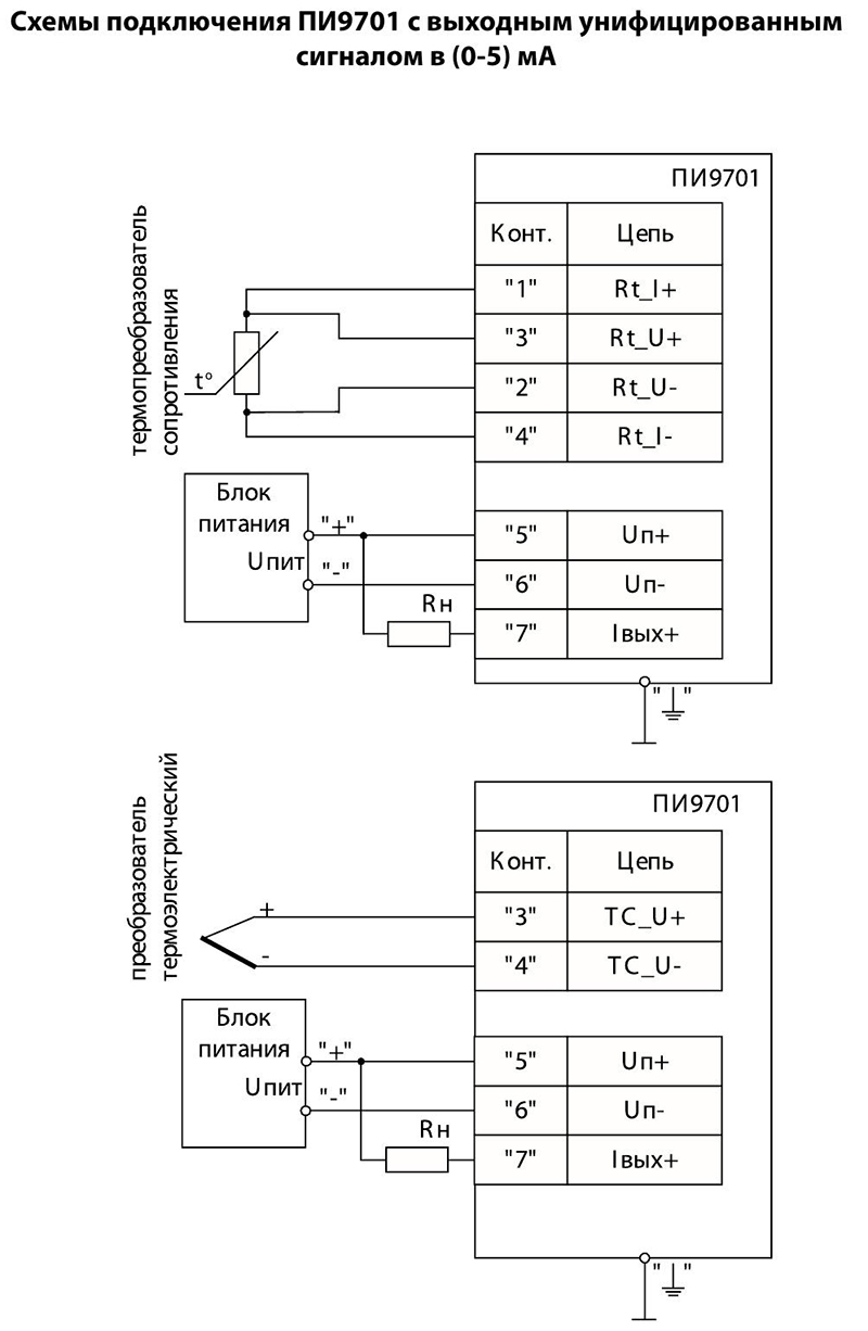
Схемы подключения

Габаритные чертежи

ПИ9701 общепромышленного исполнения

ПИ9701 взрывозащищенного исполнения с подсоединенными 
элементами комплекта монтажных частей (КМЧ)

Структура обозначения, пример заказа

ПИ970
ХА(К)
4-20 мА
0...+400°C
0,5%
Ex
01

Исполнение КМЧ (только для взрывозащищенного исполнения): 00 - КМЧ под трубный монтаж; 01 - КМЧ под бронированный кабель; 02 - комбинированный КМЧ; пробел - отсутствие КМЧ

Взрывозащищенное исполнение: Ex

Приведенная погрешность (см. Варианты исполнений)

Диапазон измеряемых температур (см. Варианты исполнений)

Выходной унифицированный сигнал: 0-5 мА; 4-20 мА; 0-5 В

Тип датчика: ХА(К) - ТХА(K); ХК(L) - ТХК(L); ПП(S) - ТПП(S); ПР(B) - ТПР(B); ЖК(J) - ТЖК(J); НН(N) - ТНН(N); 50М - ТСМ 50М; 100М - ТСМ 100М; 50П - ТСП 50П; 100П - ТСП 100П

Тип прибора

Варианты исполнений

Тип датчика

Диапазон измеряемых температур

Основная погрешность

ТСП (50П, 100П; W100=1,3910)

-200…+50°С

0,2% от диапазона

-100…+50°С

0,2% от диапазона

-50…+50°С

0,2% от диапазона

-25…+25°С

0,25% от диапазона

0…+50°С

0,25% от диапазона

0…+100°С

0,2% от диапазона

0…+150°С

0,2% от диапазона

0…+200°С

0,2% от диапазона

+150…+200°С

0,2% от диапазона

+200…+300°С

0,2% от диапазона

+200…+400°С

0,2% от диапазона

+400…+600°С

0,2% от диапазона

ТСМ (50М, 100М; W100=1,4280)

-50…+50°С

0,25% от диапазона

-25…+25°С

0,5% от диапазона

0…+50°С

0,5% от диапазона

0…+100°С

0,5% от диапазона

0…+200°С

0,25% от диапазона

+50…+100°С

0,5% от диапазона

+100…+150°С

0,5% от диапазона

ТХА(К)

0…+400°С

0,5% от диапазона

0…+1000°С

0,6% от диапазона

+400…+800°С

0,5% от диапазона

+800…+1100°С

0,6% от диапазона

ТХK(L)

50…+200°С

1,5% от диапазона

300…+500°С

1,5% от диапазона

+200…+800°С

0,6% от диапазона

ТПП(S)

+800…+1200°С

1,0% от диапазона

ТПР(В)

+1200…+1600°С

1,0% от диапазона

ТНН(N)

+400…+1200°С

0,5% от диапазона

+600…+1200°С

0,6% от диапазона

+600…+1150°С

0,5% от диапазона

ТЖК(J)

+50…+500°С

0,5% от диапазона

Стандартный комплект поставки

  • ПИ9701 преобразователь измерительный.
  • Комплект монтажных частей.
  • Паспорт.
  • Руководство по эксплуатации.
  • Методика поверки.

Дополнительная комплектация, опции

© ТД Эталон - датчики температуры, 2026

WebCanape - быстрое создание сайтов и продвижение

Яндекс.Метрика
Вы выделили текст на сайте td-etalon.com